什么是电磁失电制动器?
作者:亨劲传动发表时间:2016年10月26日
用于机械传动系统中的电磁失电制动器中,虽然具有手动释放功能,,但当一旦出现断电情况,需要手动释放时,手柄不能自锁,所以手动释放操作很不方便。另外,由于制动器中的转子中安装花键套的结构是通过齿配合连接而成,因此存在齿侧间隙,并且容易产生噪音。
本设计的目的在于克服公知技术中之不足而提供一种增加自锁功能和大大减少噪音的电磁失电制动器。
本设计的目的是这样实现的:
本设计是由在带有螺纹孔的磁轭体上制有两组通孔和一组盲孔,通过磁轭体上的一组通孔穿装螺钉,螺钉穿出磁轭体后在螺钉上套装调整套,在调整套上装有衔铁,螺钉又穿出调整套后在螺钉上安装联结板,在衔铁与联结板之间安装带有花键孔的转子,通过转子上的花键孔安装花键套,在磁轭体上的另一组通孔内安装弹簧和销子,通过磁轭体上的螺纹孔安装带有将销子压住的凸缘边的调整母,在磁轭体上的盲孔内安装有其另一端顶装于衔铁的弹簧,通过衔铁在磁轭体内还对称穿装带有弹簧的螺栓,螺栓都穿出磁轭体后在螺栓的端头上螺纹连接有手柄轴,在磁轭体的两外端面上连接一个手柄,通过手柄的两端面上通孔穿装手柄轴组成的基础上,是这样实现本设计的目的的:①上述中的转子的花键孔内通过螺钉安装有弹簧片后再安装花键套;②在手柄的两端面上通孔的一侧面上制有自锁装置。
上述手柄的两端面上通孔的一侧面上制有自锁装置的具体连接结构是,在手柄两端面上通孔的一侧面上各制有与手柄上通孔相贯通的限位槽,将该侧面的后一段面制成与手柄轴圆心同心的圆弧面。
将上述中的转子的花键孔内装有的弹簧片可以制为圆弧形状,也可以制为L型。
本设计有如下附图:
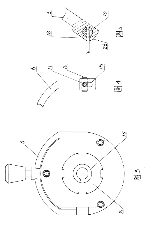
图1是本设计的结构示意图;
图2是图1的剖视图;
图3是图1的右视图;
图4是图1中手柄6的左视图;
图5是图1中手柄6的使用状态图。
下面结合附图对本设计的实施例作进一步的详述:
参照图1、图2和图3,在带有螺纹孔23的磁轭体7上分别制有两组通孔19、20及一组盲孔22,在磁轭体上通孔19内穿装螺钉3,该螺钉穿出磁轭体的另一端面后,在螺钉上套装调整套4,通过调整套安装衔铁5,螺钉3又穿出调整套后,在螺钉上再套装有联接板2,上述的衔铁与联接板之间安装带有花键孔24的转子1,为防止齿侧间隙和产生噪音,因此在转子的花键孔内通过螺钉17安装L型的弹簧片16,然后在转子的花键孔内安装花键套15,这样把花键套与转子间齿侧间隙挤到一侧,从而达到主轴运转时减少噪音的目的。接上述在磁轭体上的通孔20内安装弹簧14和销子13,通过磁轭体上的螺纹孔23安装带有凸缘边25的调整母8,调整母上的凸缘边压住销子13。在磁轭体上的盲孔22内将弹簧21装于其内,弹簧的另一端与衔铁顶装。又述通过衔铁在磁轭体内还对称穿转带有弹簧12的螺栓11,两个螺丝11也传出磁轭体,在穿出磁轭体的螺栓端头上都通过螺纹连接有手柄轴10,通过磁轭体上的两外端面连装有一个手柄6,参照图4和图5,在手柄两端面上制有通孔9,将手柄轴穿装于手柄上的通孔9内,手柄上两端面通孔的一侧面上各制有与手柄通孔相贯通的限位槽18,再将给侧面与磁轭体接触面解除的后一端面26处制成圆弧面,其圆弧面的圆心与手柄轴的圆心同心。以上结构能使手柄搬到一定角度后,即拨动到手柄上的限位槽18内,手柄松开能够自锁,这是因为当以磁轭体与手柄接触的接触面为基面开始搬动手柄时,手柄平面与磁轭体接触,且接触点通过磁轭体中心线,所以实现了自锁功能。
本设计具有的优点和积极效果是:
由于在转子的花键孔内加装有弹簧片及在手柄上制有自锁装置,因此使本设计具有构思巧妙,而且当一旦出现断电情况,需要手动释放时,手柄能够自锁,达到手柄释放很方便的目的。另外本设计还具有制动平稳可靠和减少噪音的特点。


下一篇:下一篇:什么是结晶器电磁制动器?上一篇:上一篇:电磁制动器使用安装注意事项
此文关键字:电磁制动器 |
相关资讯
- [20-02-23]怎么对电磁制动器进行拆装
- [20-02-17]您了解凸轮张开式制动器吗
- [18-07-30]电磁离合器的动作原理分析
- [18-07-30]电磁离合器的组装步骤
- [18-07-25]制动器是什么意思?
- [18-07-25]制动器是什么意思?
- [18-07-24]磁粉制动器选型与安装的注意事项
- [18-07-16]电磁离合器的扭矩变化
- [18-07-16]电磁离合器的扭矩变化
- [18-07-12]电磁离合器选型计算
- [16-12-01]一种新型轻量化电磁离合器
- [16-11-27]馈能型电磁转差离合器及控制方法(二)
- [16-11-24]馈能型电磁转差离合器及控制方法(一)
- [16-11-22]电磁双向可选择滚柱式超越离合器
- [16-11-20]一种电磁离合器失电制动器用摩阻材料…
- [16-11-17]新型电磁离合器(四)
- [16-11-14]新型电磁离合器(三)
- [16-11-13]新型电磁离合器(二)
- [16-11-12]新型电磁离合器(一)
- [16-11-11]公司最新发明的可逆电磁离合器(二)







