一种压缩机上使用的新型电磁离合器(四)
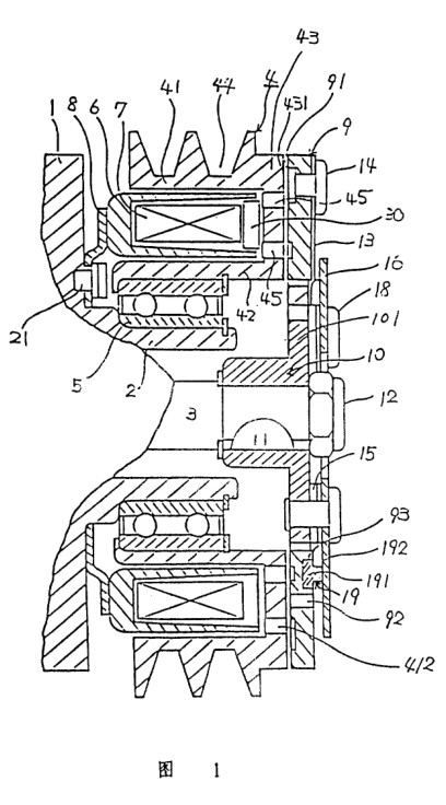
多个凹陷处是在电枢板的外轴端表面等分角位置上形成的,元件是由热熔性材料如铅或热塑性树脂制造的,并放置在凹陷处中,并包含一个托轴架部分及一突出部分,热熔性材料元件的突出部分从托轴架部分轴向向外延伸,并与面向的止动板的内表面接触。因此,由凸缘部分通过弹簧弹性支撑的电枢板被热熔性材料元件推向轴端板部分的摩擦表面,以给予片弹簧一个初始形变成偏置。这限定转子和电枢板之间的预定轴向气隙,该轴向气隙是这样确定的,以使在电磁线圈被激励时,电枢板能被转子所吸引。
在这种电磁离合器结构中,当线圈没有被激励时,电枢板被保持预定气隙的片弹簧的反弹力从转子分离开来。当电磁线圈被激励时,产生磁通量,并通过包含线圈罩壳、转子、电枢板及线圈罩壳形成闭合环路。电枢板是这样被由线圈激励而产生的磁通量吸到转子的摩擦表面上,弹簧在轴的方向上给弯曲。因此,发动机的旋转运动通过转子、电枢板,片弹簧及套筒传输给压缩机的驱动轴,另一方面,在电枢板与转子接触的同时,当压缩机发生锁定时,则转子的轴端板部分的摩擦表面在电枢板的摩擦表面上滑动,因此摩擦热是由转子与电枢板之间滑动摩擦接触发生的。因此,转子与电枢板迅速地变热,当电枢板上的摩擦热的温度超过热熔性材料元件的熔点时,元件被摩擦热所融合,此外,当摩擦热的温度还进一步升高并超过预定的温度时,自动回位式温度开关将断掉流过线圈的电流。因此,电枢被片弹簧的反弹力从转子的轴端板部分的摩擦表面上分离开,在此时间中,电枢板完全直接与止动板的轴端表面接触,转子的摩擦表面和电枢板的摩擦表面的轴向间隙被保持在一个使得电枢板不能被电磁线圈所产生的磁力吸引到转子的摩擦表面上这样一个大的距离,因此,虽然由于转子的温度已降低,自动回位式温度开关回到原先的位置,且电磁线圈又被激励,电枢板并没被拉到转子的摩擦表面上,转子的旋转运动也就没有传输到电枢板上。
参照图2所示电磁离合器的构造,除其中没有自动回位式温度开关及电枢板是用低局里点的材料制成外,其它与图1中所示是相同的。
图2中所示的电磁离合器的工作进行进一步描述,当压缩机被锁定时,转子的摩擦表面在电枢板的摩擦表面上滑动。摩擦热就如此因转子和电枢板的滑动摩擦接触而产生,因此,转子和电枢板迅速地变热,当摩擦热的温度超过热熔性材料元件的熔点时,则摩擦热就能把热熔性材料元件融化,此外,当摩擦温度还继续升高并超过居里点时,电枢板的磁性将迅速下降,如此,转子的摩擦表面与电枢板的摩擦表面之间的吸引力也迅速下降。因此,片弹簧的反弹力能使电枢板与转子间彼此分离开来,在这个时间中,转子的摩擦表面与电枢板的摩擦表面之间的间隙是保持在较大的距离,这样的距离使得电磁线圈在被激励的情况下,电枢板也不能被吸引到转子上,因此,当电枢板的磁性由于温度降低而恢复时,电枢板是没有被吸引到转子的摩擦表面上,而转子的旋转运动也就没有传输到电枢板上。


相关资讯
- [20-02-23]怎么对电磁制动器进行拆装
- [20-02-17]您了解凸轮张开式制动器吗
- [18-07-30]电磁离合器的动作原理分析
- [18-07-30]电磁离合器的组装步骤
- [18-07-25]制动器是什么意思?
- [18-07-25]制动器是什么意思?
- [18-07-24]磁粉制动器选型与安装的注意事项
- [18-07-16]电磁离合器的扭矩变化
- [18-07-16]电磁离合器的扭矩变化
- [18-07-12]电磁离合器选型计算
- [16-12-01]一种新型轻量化电磁离合器
- [16-11-27]馈能型电磁转差离合器及控制方法(二)
- [16-11-24]馈能型电磁转差离合器及控制方法(一)
- [16-11-22]电磁双向可选择滚柱式超越离合器
- [16-11-20]一种电磁离合器失电制动器用摩阻材料…
- [16-11-17]新型电磁离合器(四)
- [16-11-14]新型电磁离合器(三)
- [16-11-13]新型电磁离合器(二)
- [16-11-12]新型电磁离合器(一)
- [16-11-11]公司最新发明的可逆电磁离合器(二)







